Настольно-сверлильный станок ГС2112
295 500 руб.
с НДС - на 26.04.2026 г.
| Модель: | ![]() |
ГС2112 |
| Артикул: | ![]() |
ГС2112 |
| Производитель: | Белоруссия |
|
| Изготовитель: | ![]() |
Белоруссия |
Настольно-сверлильный станок ГС2112 позволяет выполнять следующие операции:
- сверление
- развертывание
- зенкерование
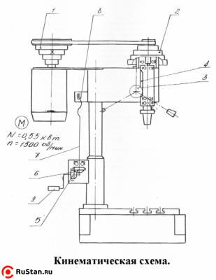
Станки ГС2112 с успехом могут применяться для работы в домашних мастерских, школах, профучилищах а также на малых предприятиях с небольшими и серийными объемами металлообрабатывающего производства. Простота конструкции станка придает легкость управления, а также надежность и долговечность настольных сверлильных станков. Верхний предел частоты вращения шпинделя станка ГС2112 обеспечивает обработку отверстий небольшого диаметра. Перекинув ремень на шкивах можно получить три других частоты вращения шпинделя.
Технические характеристики настольно-сверлильного станка ГС2112 |
|
|---|---|
| Характеристика | Значение |
| Максимальный диаметр сверления, мм. | 12 |
| Диапазон нарезаемой резьбы | - |
| Конус шпинделя | В18 наружный (ГОСТ 9953-82) |
| Ход шпинделя, мм. | 100 |
| Диапазон частот вращения шпинделя, об./мин. | 450; 800; 1400; 2500; 4500 |
| Количество скоростей вращения шпинделя | 5 |
| Диапазон подач шпинделя, мм./об. | ручная |
| Величина перемещения сверлильной головки по колонне, мм | 250 |
| Расстояние от оси шпинделя до колонны, мм. | 190 |
| Наибольшее расстояние от торца шпинделя до плиты, мм. | 100 - 450 |
| Количество Т-образных пазов | 2 |
| Ширина Т-образного паза | 14Н14 |
| Расстояние между осями Т-образных пазов, мм. | 100 |
| Размер рабочей поверхности плиты, мм. | 250 х 250 |
| Мощность привода главного движения, кВт | 0,55 |
| Напряжение питания, В | 380 |
| Габаритные размеры (LxBxH), мм. | 420 х 780 х 982;
(900х595х1130 в упаковке) |
| Масса, кг. | 100;
(150 брутто) |
Комплект поставки:
- Станок в сборе;
- Руководство по эксплуатации.
Комплектация за дополнительную плату
Комментарии и вопросы:
Комментариев пока нет, но ваш может быть первым.Разметить комментарий или вопрос
Отзывы о ГС2112:
Достоинства:
массо-габаритные характеристики ГС2112 должны быть интересны для использования этого станка на малых производствах и частниками. Разумно выпускать ГС2112 опционально с двигателем для внешней сети в 220 вольт.
Комментарий:
опционально предусмотреть установку двигателя на ГС2112 для сети 220 вольт.
Покупал(а) для:
для личных нужд
Габариты в упаковке ДхШхВ, мм: 470x874x1100
Способ получения товара в Чебоксарах
Настольно-сверлильный станок ГС2112 с доставкой в г. Чебоксары: подробные условия и стоимостьСопутствующие товары
Похожие товары
Обозначение Белоруссия используется исключительно для идентификации товаров соответствующего производителя. ООО "Компания "РуСтан" не является правообладателем товарного знака Белоруссия и не аффилировано с правообладателем.




